Estimados foreros.
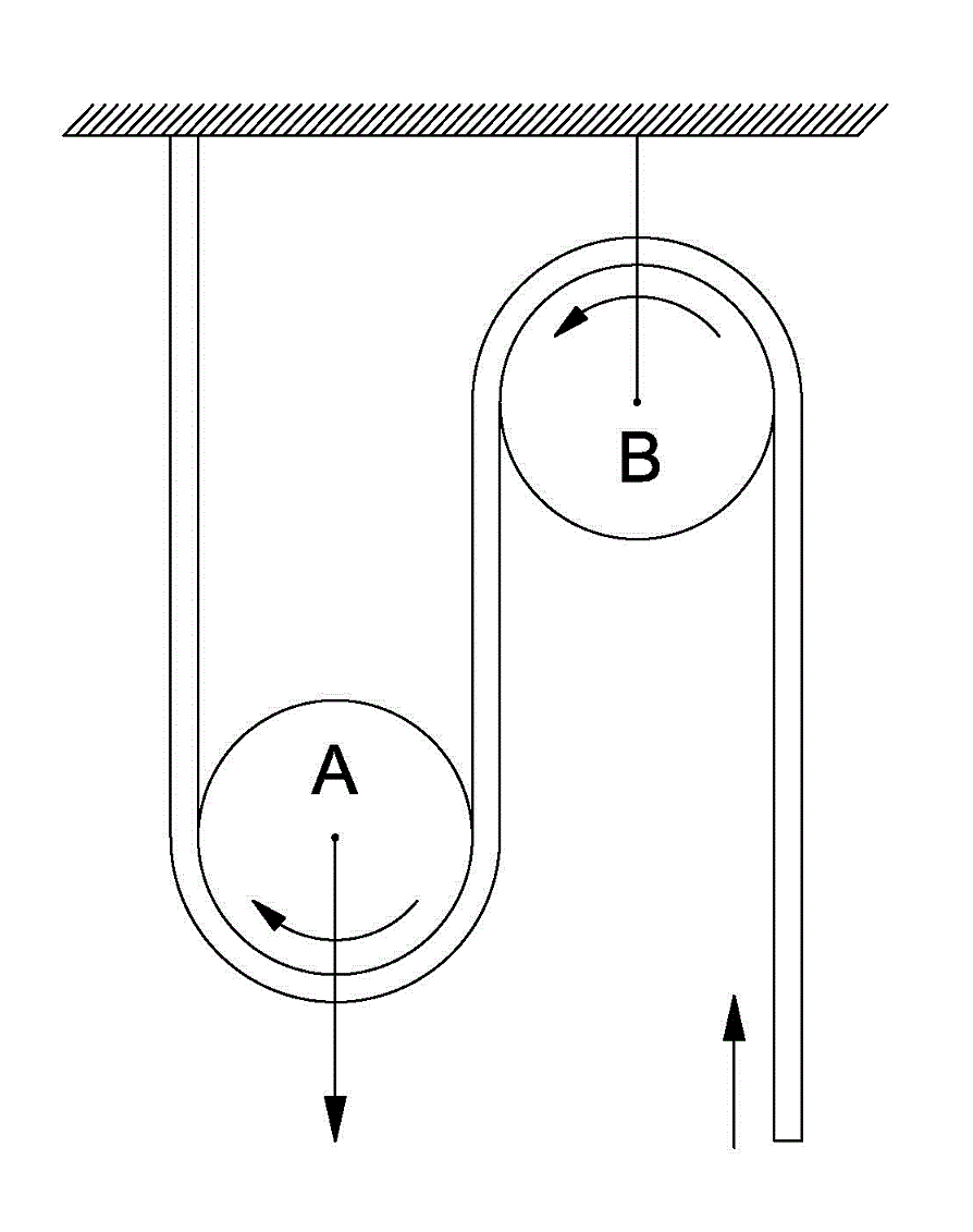
Deseo resolver una animación en la que se muestra el trabajo de una polea doble. La polea A es móvil y la polea B es fija.
El movimiento del cable a través de una polea fija, tal como la B, he logrado resolverlo con una perfecta sincronización del mismo con el giro de la polea.
Mi problema está en la polea A porque aquí es la polea la qué tira del cable y lo va extendiendo hacia abajo, quedando fijo el ramal de la izquierda. Acompaño un dibujo para ilustrar mi consulta.
Estoy con el 3DS Max 2017.
¿Alguien puede orientarme un poco en esto?
Vaya mi agradecimiento por delante.
-- IMÁGENES ADJUNTAS --
![]()

Citar