1 Archivos adjunto(s)
Polea móvil que tensa un cable
Estimados foreros.
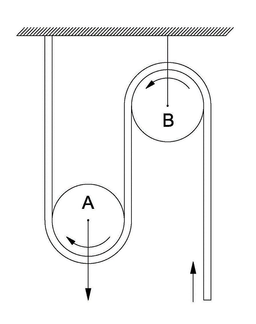
Deseo resolver una animación en la que se muestra el trabajo de una polea doble. La polea A es móvil y la polea B es fija.
El movimiento del cable a través de una polea fija, tal como la B, he logrado resolverlo con una perfecta sincronización del mismo con el giro de la polea.
Mi problema está en la polea A porque aquí es la polea la qué tira del cable y lo va extendiendo hacia abajo, quedando fijo el ramal de la izquierda. Acompaño un dibujo para ilustrar mi consulta.
Estoy con el 3DS Max 2017.
¿Alguien puede orientarme un poco en esto?
Vaya mi agradecimiento por delante.
-- IMÁGENES ADJUNTAS --
https://foro3d.com/attachment.php?attachmentid=225691
Polea móvil que tensa un cable
¿3ds Max tiene Shape?
En Blender se podría simular animando la curve que haga de cuerda con un Shape Key.
Polea móvil que tensa un cable
Hola Solimán.
En 3DS Max existen las Shapes, pero son simplemente líneas de dos o tres dimensiones. No creo que te refieras a eso.
El programa Blender no lo conozco, y por lo que veo, debe ser bastante complejo. Estoy estudiando el 3DS Max y me gustaría saber si este programa puede resolver esa animación. Muchas gracias.
1 Archivos adjunto(s)
Polea móvil que tensa un cable
Bueno, he podido resolver el problema de la animación en la polea A, que era el que me tenía en jaque. Por si a alguien la interesa, ahí va mi procedimiento:
1) Con una Spline he creado la ruta qué debe seguir el cable.
2) He creado un cilindro alto y delgado que simulará un trozo de cable.
3) Con el modificador PathDeform (WSM) he situado el cilindro en la ruta.
4) Coloco la polea sobre la curva de la ruta.
5) Ejecuto la animación trasladando por igual la polea y la ruta. En la misma animación he rotado la polea el giro correspondiente al recorrido del cable.
6) Finalmente, he ocultado la ruta para que solo se vea el cable moviéndose.
Adjunto la animación de solo 4 segundos.
Si alguien desea más detalles, aquí estoy a su entera disposición. Muchas gracias.
https://youtu.be/w8QtFtCcaoI
-- IMÁGENES ADJUNTAS --
https://foro3d.com/attachment.php?attachmentid=225724
2 Archivos adjunto(s)
Polea móvil que tensa un cable
Polea móvil que tensa un cable
Hola, imagino que abra algún plugin de fisicas que haga fácil lo que dices, de todos modos la solución complicada pasa por las matemáticas, es decir, calculas la longitud que estiras la cuerda, haciendo la animación de la cuerda, luego calculas el perímetro de la polea y con ello tienes cuantas vueltas tiene que dar la polea para recorrer esa distancia, de esta forma se sincroniza con el cable, y ya cuadrar la velocidad de rotación de la polea en funcion a la distancia qué debe moverse y el tiempo de animaciones decir, movemos la cuerda un metro, la polea tiene 10cm de diámetro, pi*10=31,416, cada vuelta son 31.416 centímetros, que si se mueve un metro serian 3,184 vueltas, así que sabemos que son 3 vueltas y pico en ese metro, con lo que si 360 grados son 31,416 centímetros, usando una regla de 3 sabemos que.
1 360 grados.
0,184?
Así que (360*0,184)/1=66,24º.
Por lo que durante ese metro la polea debería dar tres vueltas y 66,24º, así debería girar 1146,24º en el tiempo que requiera la animación, si hablamos de 20 segundos esto requeriria 57,32º por segundo, que es la rotación con la qué deberías calcular los keyframes, a partir de ahí ya solo tienes que realizar la rotación de los grados correspondientes en el segundo correspondiente y agregar el keyframe.
Espero no a ver sido demasiado lioso.