Buenos días a todos. No me gusta hacer peticiones y demás pero es que hoy me encuentro algo en aprietos debido a que se aproxima la fecha de entrega de mi trabajo y no he podido completarlo.
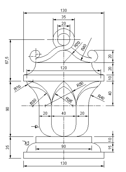
El trabajo consiste en crear un florero con algunas piezas y formas que no me están saliendo ¿Alguien podría ayudarme? Llegué hasta aquí porque creo que muchos de los miembros tienen buen uso en AutoCAD y yo al ser estudiante en formación necesito un poco de asistencia.
Desde ya quien colabore y pueda ayudarme se lo agradecería mucho. Aquí dejo adjunta la imagen que debo graficar en AutoCAD.
-- IMÁGENES ADJUNTAS --
![]()
  
        
    
  
				
				
				
					
  Citar