1 Archivos adjunto(s)
Necesito modelar esta figura para una tarea escolar
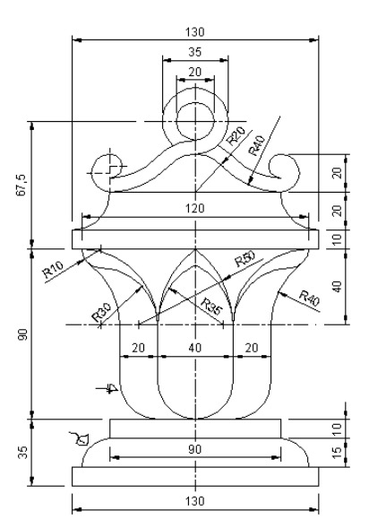
Hola soy nuevo, entré aquí porque estoy desesperado. Me dieron un trabajo de AutoCAD para realizar, supongo que debe ser sencillo para ustedes en este foro, pero es un trabajo practico evaluativo y necesitaría ayuda. ¿Alguien me podría ayudar? Necesito graficar lo que voy a dejar a continuación.
Si alguien me podría ayudar se lo agradecería muchísimo.
-- IMÁGENES ADJUNTAS --
https://foro3d.com/attachment.php?attachmentid=241170